【導讀】在很多電路板或者電子產品上我們經常會看到下面這些標志,你都知道是什么含義嗎?

Atmel開發板上的FCC標志、CE標志、手型標志、垃圾桶標志

NXP開發板上的RoHS標志、RU標志

NXP開發板上的手型標志、垃圾桶標志、Pb標志

Arduino開發板上的CE標志、FCC標志

東芝開發板上的RU標志

閃迪U盤上的垃圾桶標志、KC標志、FCC標志、CE標志

安信可ESP32 WiFi+藍牙模塊上的WiFi藍牙標志、FCC標準、CE標志
這些標志你都知道是什么意思嗎?
一、標志
1、防靜電標志

防靜電標志(標識)是防靜電控制體系中不可缺少的一環,這些標志(標識)鮮明又形象地指示出與靜電有關的產品、區域或包裝等,提示工作人員時刻不忘靜電的危害性,做好防范工作。可粘貼在車間所用的器材、產品的外包裝、設備外殼或需防靜電的場所中。
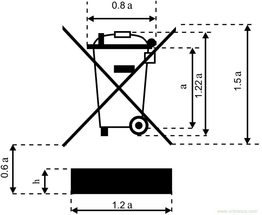
2、WEEE標志

垃圾桶符號,在歐盟,這個符號表示當最終用戶打算丟棄此產品時必須將該產品送到適當的設施,以進行回收和循環再利用。
二、國內認證


1、CCC認證:China Compulsory Certification,中國強制性產品認證。
3C標志并不是質量標志,而是最基礎的安全認證,是為了保護消費者人身安全和國家安全的一種認證。國家安全認證(CCEE)、進口安全質量許可制度(CCIB)、中國電磁兼容認證(EMC)三合一的“CCC”權威認證,是中國質檢總局和國家認監委與國際接軌的一個先進標志,有著不可替代的重要性。當前,中國公布的首批必須通過強制性認證的產品共有十九大類一百三十二種。主要包括電線電纜、低壓電器、信息技術設備、安全玻璃、消防產品、機動車輛輪胎、乳膠制品等。
2、CQC認證:中國質量認證中心, 中國質量認證中心開展的自愿性產品認證業務。
我國從2002年5月1日起實行國家強制認證制度(CCC認證),對于列入CCC目錄的產品實行強制性產品認證,對于未列入目錄的產品若需要認證,可采用自愿性產品認證的方式,即CQC認證。CQC認證有兩個涵義,一是發證機構是CQC(中國質量認證中心)(需要說明的是大部分3C證書也是CQC發證的);二是區別于CCC強制性認證,屬自愿性認證,也就是說國家法律法規層面沒有強制要求辦理,是企業自愿進行的認證行為。
3、SRRC認證:國家無線電管理委員會強制認證

SRRC是國家無線電管理委員會強制認證要求,自 1999 年 6 月 1 日起,中國信息產業部 (Ministry of Information Industry, MII) 強制規定,所有在中國境內銷售及使用的無線電組件產品,必須取得無線電型號的核準認證 (Radio Type Approval Certification)。
三、全球認證
1、CB認證:國際電工CB認證

該體系是國際電工委員會電工設備及零部件合格評定體系組織(IECEE)設立的一個電工產品測試結果的相互認可平臺,同時也是成員國及認證組織之間的多邊協議,企業可利用一個認證機構頒發的CB測試證書和報告獲得其他CB成員國的國家認證.。至今,已有50多個國家加入了CB體系(如表),這些國家多是中國的主要貿易伙伴。
四、北美認證
1、UL認證:UL是美國保險商試驗所(Underwriter Laboratories Inc.)的簡寫,是制造廠商最值得信賴的合格評估提供者之一

UL安全試驗所是美國最有權威的,也是世界上從事安全試驗和鑒定的較大的民間機構。UL主要從事產品的安全認證和經營安全證明業務,其最終目的是為市場得到具有相當安全水準的商品,為人身健康和財產安全得到保證作出貢獻。就產品安全認證作為消除國際貿易技術壁壘的有效手段而言,UL為促進國際貿易的發展也發揮著積極的作用。在美國,對消費者來說,UL 就是安全標志的象征,UL是制造廠商最值得信賴的合格評估提供者之一 。

UL認證的標志是RU符號,電路板上很常見的符號
文章開頭東芝和NXP的開發板上都有一串字母是“*RU94V-0 HF PbF *”,這又是什么意思呢?

其實這是RU/UL認證中的一種阻燃等級,阻燃等級由HB,V-2,V-1向V-0逐級遞增:
● HB:
(1)UL94標準中最低的阻燃等級。
● V-2:
(1)對樣品進行兩次10秒的燃燒測試后,火焰在30秒內熄滅。
(2)可以引燃30cm下方的藥棉。
● V-1:
(1)對樣品進行兩次10秒的燃燒測試后,火焰在30秒內熄滅。
(2)不能引燃30cm下方的藥棉。
● V-0:
(1)對樣品進行兩次10秒的燃燒測試后,火焰在10秒內熄滅。
(2)不能有燃燒物掉下。
HF:表示產品中不含有鹵素,具體的就是產品中氯含量<900ppm,溴含量<900ppm,氯+溴含量不大于1500ppm。PbF:表示產品中無鉛,即鉛的含量在1000ppm以下。
2、ETL認證:ETL認證是產品出口美國及加拿大所需的認證。

ETL認證是產品出口美國及加拿大所需的認證。ETL標志表示產品已經通過美國NRTL及或加拿大SCC的認可測試。Intertek是被OSHA及SCC認可的少數發證機構。ETL標志認可與UL或CSA標志具有等同的效力,并符合有關的安全標準。
3、FCC認證:美國聯邦通訊委員(Federal Communication.FCC)是美國政府授權管理無線電、通訊及數字設備的機構。

美國聯邦通訊委員(Federal Communication.FCC)是美國政府授權管理無線電、通訊及數字設備的機構;管理進口和使用無線電頻率裝置,包括電腦、傳真機、電子裝置、無線電接收和傳輸設備、無線電遙控玩具、電話、個人電腦以及其他可能傷害人身安全的產品;通過控制無線電廣播、電視、電信、衛星和電纜來協調國內和國際的語言,對這方面的設備實施管制。
4、IC認證:IC是Industry Canada的英文縮寫,是加拿大工業部的縮寫,是加拿大工業部規定的模擬和數字終端設備的檢測標準
IC認證的標準與FCC基本一致,IC目前只在電磁干擾上做限制。加拿大工業部負責電子電器產品進入加拿大市場的認證事務, 規定進口電子產品必須通過的有關EMC的認證。其負責產品大致為廣播電視設備、信息技術設備、無線電設備、電信設備、工科醫設備等,與美國FCC相 似,IC目前只有在電磁干擾上做限制。
五、歐盟認證
1、CE認證:CE認證制度是歐盟電器產品的準入制度,是強制性法律條文的要求。

CE認證是歐盟國家實行的強制性產品安全認證制度,目的是為了保障歐盟國家人民的生命財產安全,所以一般針對的都是老百姓日常接觸的到的具有一定危險性的產品,比如大部分帶電的產品都有觸電危險,所以都要做CE認證。這也是國際通行的做法,比如我國也有自己的強制性產品認證制度CCC認證,日本有PSE認證,澳洲有SAA認證,都是為了保障本國人民的生命財產安全。需要特別注意的是,中國廠家要進入歐盟市場,CE認證是屬于強制性認證要求,不論是歐盟內部企業生產的產品,還是其他國家生產的產品,要想在歐盟市場上自由流通,就必須完成CE認證,加貼CE標志,以表明產品符合歐盟《技術協調與標準化新方法》指令的基本要求。否則屬于違法行為,輕則清不了關,重則會被查處召回或罰款。
CE標志適用于所有歐盟國家,CE標志涉及歐洲市場80%的工業和消費品,70%的歐盟進口產品。根據歐盟法律,CE認證屬于強制性認證,所以如果產品沒有經過CE認證,而貿然出口到歐盟,將被認為是違法行為。以法國為例,有可能面臨的后果是:
● 產品過不了海關;
● 被扣留、罰沒;
● 面臨五干英鎊的罰款;
● 撤出市場及回收所有在用產品;
● 追究刑事責任;
● 通報歐盟
2、RoHS認證:RoHS是由歐盟立法制定的一項強制性標準。

它的全稱是《關于限制在電子電氣設備中使用某些有害成分的指令》(Restriction of Hazardous Substances)。該標準已于2006年7月1日開始正式實施,主要用于規范電子電氣產品的材料及工藝標準,使之更加有利于人體健康及環境保護。該標準的目的在于消除電器電子產品中的鉛、汞、鎘、六價鉻、多溴聯苯和多溴二苯醚(注意:PBDE正確的中文名稱是指多溴二苯醚,多溴聯苯醚是錯誤的說法)共6項物質,并重點規定了鎘的含量不能超過0.01%。該指令于2003年2月13日正式發布,被限制的有害物質包括:鉛(Pb),鎘(Cd),汞(Hg),六價鉻(Cr6+),多溴聯苯(PBBs)和多溴二苯醚(PBDEs)六項有害物質,2015年又新增了4項鄰苯二甲酸脂物質,被限制的有害物質增至十項,也稱為RoHS2.0。
RoHS 2.0 十項有害物質限制要求:

除此之外,需要注意的是RoHS2.0指令已納入CE認證范圍,所以現在做RoHS2.0需按照CE符合性評估程序進行相關評估,出具CE-RoHS證書或自我申明,在產品本身或外包裝上加貼CE認證標志。
3、TÜV認證:TÜV(Technischer Überwachungs Verein)是德語“技術監督協會”的縮寫。

在德國,TUV是政府指定的官方認證機構,具有130多年的歷史,是世界上應用范圍最廣的第三方認證之一,為電氣、電子和機器產品等產品提供質量和安全保證。
4、E-Mark認證:E-mark是根據歐洲經濟委員會法規【 ECE Regulation 】在日內瓦簽署和頒布的ECE法規實施的一種對汽車部件的批準制度。

歐洲經濟委員會是聯合國的一個分支機構,成員國為歐洲國家,也包括一些非歐洲國家,如日本。e-mark是依照歐盟指令2009/19/EC,針對的是歐洲共同體市場的。但從會員國接受程度來說,E-mark是非強制的,可自由選擇,而e-mark對成員國是強制的,必須接受。
六、韓國認證
1、KC認證:KC Mark Certification Products List(KC認證產品目錄) 根據《韓國電氣用品安全管理法》規定,自2009年1月1日起電氣用品安全認證分為強制性認證及自律(自愿)性認證兩種。

與以上認證類型不同,KC認證是對制造商即工廠進行的認證,企業如果需要申請KC標志,首先必須向韓國電氣電子檢測研究院(Korea Electrical Testing Institute,KETI)或韓國產業技術檢測院(Korea Testing Laboratory,KTL)提出申請。若一種產品由幾個獨立的工廠生產時,盡管產品是同一型號,幾個工廠都應同時取得認證標志。海外生產廠家可以直接申請或者授權韓國當地的代理機構和代表廠家申請。
七、日本認證
1、PSE認證:PSE是由2001年開始實施的“電器設備和材料安全法”的要求,針對大多數的家用或者商用電氣設備。

PSE認證是日本電氣用品的強制性市場準入制度(在日本稱之為“適合性檢查"),是日本《電氣用品安全法》中規定的一項重要內容。PSE是英文"Product Safety of Electrical Appliance&Materials"的簡稱。目前,日本政府根據日本《電氣用品安全法》中規定,將電氣用品分為“特定電氣用品”和“非特定電氣用品”,其中“特定電器用品”包括115種產品;“非特定電氣用品”包括339種產品。PSE包括EMC和安全兩部分的要求。凡屬于“特定電氣用品”目錄內的產品,進入日本市場,必須通過日本經濟產業省授權的第三方認證機構認證,取得認證合格證書,并在標簽上有菱形的PSE標志。
2、VCCI認證:VCCI 是日本的電磁兼容認證標志。

由民間組織日本電磁干擾控制委員會 (Voluntary Control Council for Interference by Information Technology Equipment,VCCI) 管理。VCCI認證針對額定電壓不超過600伏的信息技術設備(Information Technology Equipment,ITE),即主要功能是對數據和信息進行錄入、存儲、顯示、檢索、傳遞、處理、交換或者控制(或幾種功能的組合)的設備。目前VCCI采用的標準完全等同于國際標準CISPR 22。CISPR 22標準的電磁發射限值分A級和B級,產品應符合A級或B級要求并加貼相應的VCCI標志。VCCI 認證是非強制性的,但是在日本銷售的信息技術產品,一般會被要求進行 VCCI 認證。
3、TELEC認證:TELEC是日本針對無線產品的強制性認證,有些類似于國內的SRRC。

日本的TELEC認證包括了兩種認證,即測試認證和型式認證,測試認證是針對每一個設備單元進行驗證的,該認證只對每一個經過了驗證的設備單元有效,而型式認證是指對同樣設計和制造的一批設備的樣品進行驗證,該認證對該批設備都有效,但如果設備的設計或制造發生了改變 ,設備將需要重新認證。
八、澳大利亞認證
1、SAA認證:SAA也是進入澳大利亞市場的電器產品須符合的當地安全法規,即業界經常面對的認證。

澳大利亞的標準機構為澳大利亞標準協會SAA, 后來又改名為澳大利亞標準有限公司。由于澳大利亞和新西蘭兩國的互認協議,所有取得澳大利亞認證的產品均可順利地進入新西蘭市場銷售。所有電器產品均要做安全認證( SAA )。SAA Approvals Pty Ltd是澳大利亞和新西蘭聯合認證系統 (JAS-ANZ)認可的發證機構,可為聲明的和非聲明的已符合澳大利亞電氣設備標準安全要求的電器設備發行批準證書。
九、藍牙和WiFi認證
如果您的產品具有藍牙功能并且在產品外觀上標明藍牙標志,必須通過一個叫做BQB(Bluetooth Qualification Body)的認證。藍牙認證是很重要。只有通過藍牙SIG組織認證的產品才是真正的藍牙產品,才能保證產品的兼容性和相關性能是符合藍牙標準的,才能合法使用藍牙或BLUETOOTH的LOGO以及相關藍牙技術規范。

Wi-Fi認證針對的是基于IEEE 802.11b標準的無線局域網產品,Wi-Fi證書是由一個非營利的工業組織(WECA)頒布的。WECA是在1999年8月組建的,到目前為止會員已迅速增加到150多個,全球已有370個產品獲得了Wi-Fi認證。WECA的核心工作是測試和認證。

安信可ESP32 WiFi+藍牙模塊

十、其他國家認證
1、印尼POSTEL認證 ( POSTEL of Indonesia):所有進口到印尼的通訊產品,必須通過印尼 郵政電信總局(DGPT)的型式認證以及海關檢驗。
2、馬來西亞SIRIM認證 (SIRIM certification of Malaysia):馬來西亞實行的產品認證體系分為強制認證和自愿認證兩種。通信設備和《電氣設備批準條例》中規定的31大類的電氣產品須分別進行強制性的型式認證和安全認證,其他產品屬于自愿認證范疇。
3、泰國NTC認證(NTC certification of Thailand):泰國國家通訊委員會 NTC (National Telecommunication Commission of Thailand) 針對電信設備,電信終端設備與無線產品,訂出了明確的規范限制,要求通訊產品出口泰國時需通過NTC認證,并加貼NTC標簽。
4、新加坡IDA認證(IDA certification of Singapore ):新加坡隊電信產品的使用管理由新加坡資訊通信發展管理局(IDA)負責,其管理依據主要是根據由IDA制定的技術規范。這些技術規范規定了擬在新加坡出售和使用的電信設備的最低技術要求的標準。
5、新加坡CSP計劃及安全標志 (CSP Scheme and safety mark in Singapore):CSP計劃中管制的產品包括家用電器、音視頻產品、家用電腦、固定照明電器、插頭插座以及液化石油氣系統部件等47種產品。CSP計劃要求供應商在新加坡銷售產品前,需到SPRING Singapore注冊,成為“注冊供應商”(Registered Suppliers);管制產品也需獲得合格評定機構(CABs)的合格評定證書(COC)(3年有效期);注冊供應商將COC提交給SPRING Singapore,注冊已認證的管制產品;通過確認后,加貼安全標志,方可銷售或宣傳已注冊的管制產品。
6、印度STQC認證(STQC certification of India):STQC安全認證體系(S標志)是一個針對電子產品的第三方認證體系,發證機構為印度標準化檢測與質量認證中心(Standardization Testing and Quality Certification,STQC),隸屬于印度信息技術部(Department of Information Technology,DIT)。該安全認證制度旨在通過評估、檢測和后續監督等程序證明電子產品符合相關IEC安全標準的要求。目前STQC可接受廠商自愿申請認證,廠商可以根據需要自愿提出申請。
十一、認證申請
雖然板子上就這么一個簡單的符號,它的背后可都是用時間和金錢砸出來的啊!那么如何取得這些認證呢?認證申請尤其是初次辦理,建議還是找專業權威的認證機構辦理,認證流程復雜(涉及申請、測試、驗廠等環節),涉及到的辦事單位多,文件要求多,綜合所述,沒有較高的專業知識和協調資源,是很難辦的。認證機構盡量選擇中國合格評定國家認可委員會、中國國家認證認可監督管理委員會等權威機構認可的機構或實驗室。
下面是國內某認證機構提供的3C產品認證流程:

從圖中也可以看出,產品是在完成之后再送出去測試,如果不符合認證標準則需要拿回來重新修改開發,這樣來來回回就會浪費很多時間,為了減少認證的時間,所以國內很多電器大廠都有自己的EMC實驗室,當然這個實驗室也是造價不菲,以國內的美的電器為例,今年新建成的EMC實驗室,耗資4000萬,占地1500平方米,雖然耗費了大量的財力,當然也會節省很多研發成本,官方表示建成不到一年,已經為美的節省了上億元的研發成本。
十二、總結
怎么樣?看完本篇文章,文章開頭提到板子上的標志你知道是什么含義了嗎?

作者:wcc149
來源:電子電路開發學習
推薦閱讀:


