【導讀】過采樣和數字濾波有助于降低對ADC前置的抗混疊濾波器的要求。重構DAC可以通過類似的方式運用過采樣和插值原理。例如,數字音頻CD播放器常常采用過采樣,其中來自CD的基本數據更新速率為44.1 kSPS。早期CD播放器使用傳統的二進制DAC,并將“0”插入并行數據中,從而將有效更新速率提高到基本吞吐速率的4倍、8倍或16倍。4×、8×或16×數據流通過一個數字插值濾波器,產生額外的數據點。高過采樣速率將鏡像頻率移動到更高位置,從而可以使用較為簡單、成本更低、過渡帶更寬的濾波器。此外,由于存在處理增益,信號帶寬內的SNR也會提高。Σ-Δ型DAC架構使用高得多的過采樣速率,將這一原理擴展到極致,因而在現代CD播放器中頗受歡迎。
同樣的過采樣和插值原理也可用于通信領域的高速DAC,以便降低對輸出濾波器的要求,并利用處理增益提高SNR。
重構DAC的輸出頻譜
重構DAC的輸出可以表示為一系列矩形脈沖,其寬度等于時鐘速率的倒數,如圖1所示。

圖1:顯示鏡像和sin (x)/x滾降的無濾波DAC輸出
請注意,在奈奎斯特頻率fc/2,重構信號幅度降低3.92 dB。如果需要,可以使用一個反sin(x)/x濾波器來補償此效應?;ㄐ盘柕溺R像作為采樣函數的結果出現,并且也通過sin(x)/x函數衰減。
過采樣插值DAC
過采樣/插值DAC的基本原理如圖2所示。N位輸入數據字以速率fc接收。數字插值濾波器以等于過采樣頻率Kfc的時鐘速率工作,并插入額外的數據點。對輸出頻譜的影響如圖2所示。在奈奎斯特采樣頻率下(A),對模擬抗鏡像濾波器的要求可能相當高。通過過采樣和插值,可以大大降低對該濾波器的要求,如(B)所示。此外,量化噪聲分布在比原始信號帶寬更寬的區域內,因而信噪比也會有所提高。原始采樣速率加倍時(K = 2),SNR提高3 dB;K = 4時,SNR提高6 dB。早期CD播放器利用了這一點,一般能將數字濾波器中的算法精確到N位以上。如今,CD播放器中的多數DAC都是Σ-Δ型。
關于過采樣/插值DAC原理的最早期文獻有Ritchie、Candy和Ninke于1974發表的論文(參考文獻1),以及Mussman和Korte于1981年(申請日期)申請的專利(參考文獻2)。

圖2:過采樣插值DAC
下例使用一些實際的數值來說明過采樣原理。假設以30 MSPS的輸入字速率驅動一個傳統DAC(參見圖3A),DAC輸出頻率為10 MHz。在30 – 10 = 20 MHz時的鏡像頻率成分必須通過模擬抗混疊濾波器進行衰減,濾波器的過渡帶始于10 MHz,止于20 MHz。假設必須將鏡像頻率衰減60 dB,則在10 MHz到20 MHz(一個倍頻程)的過渡帶內,濾波器必須從10 MHz的通帶轉折頻率變為60 dB的阻帶衰減。濾波器每個極點提供大約6 dB/倍頻程的衰減。因此,為了提供所需的衰減,至少需要10個極點。過渡帶越窄,則濾波器越復雜。

圖3:fo = 10 MHz時的模擬濾波器要求:(A) fc = 30 MSPS,(B) fc = 60 MSPS
假設我們將DAC更新速率提高到60 MSPS,并在各原始數據采樣點之間插入“0”。現在,并行數據流為60 MSPS,但我們必須確定零值數據點的值,這通過將添加0的60 MSPS數據流經由數字插值濾波器處理來實現,由濾波器計算額外的數據點。2× 過采樣頻率下的數字濾波器響應曲線如圖3B所示。模擬抗混疊濾波器過渡區現在是10 MHz到50 MHz(第一鏡像出現在2fc – fo = 60 – 10 = 50 MHz)。該過渡區稍大于2個倍頻程,說明5或6極點濾波器即足夠。
AD9773/AD9775/AD9777(12-/14-/16-bit)系列發射DAC (TxDAC®)是2×、4×或8×可選過采樣插值雙通道DAC,圖4為其簡化框圖。這些器件能夠處理最高達160 MSPS的12/14/16位輸入字速率,最大輸出字速率為400 MSPS。假設輸出頻率為50 MHz,輸入更新速率為160 MHz,過采樣比為2,則鏡像頻率出現在320 MHz – 50 MHz = 270 MHz,因此模擬濾波器的過渡帶為50 MHz至270 MHz。如果沒有2倍過采樣,則鏡像頻率出現在160 MHz – 50 MHz = 110 MHz,濾波器過渡帶為50 MHz至110 MHz。

圖4:過采樣插值TxDAC®的簡化框圖
還應注意,過采樣插值DAC支持較低的輸入時鐘頻率和輸入數據速率,因而它在系統內產生噪聲的可能性要低得多。
Σ-Δ型DAC
Σ-Δ型DAC的工作原理與Σ-Δ型ADC非常相似,但在Σ-Δ型DAC中,噪聲整形功能是利用數字調制器實現的,而不是利用模擬調制器。
與Σ-Δ型ADC不同,Σ-Δ型DAC大多是數字式(參見圖5A)。它由一個“插值濾波器”(一個數字電路,以低速率接受數據,以高速率插入0,然后應用數字濾波器算法并以高速率輸出數據)、一個Σ-Δ型調制器(它對信號是低通濾波器,對量化噪聲則是高通濾波器,并將由此產生的數據轉換為高速位流)和一個1位DAC組成,該DAC的輸出在等值正負基準電壓之間切換。輸出在外部模擬低通濾波器(LPF)中濾波。由于過采樣頻率很高,該LPF的復雜度遠低于傳統奈奎斯特采樣頻率下的情況。

圖5:Σ-Δ型DAC
Σ-Δ型DAC可以使用多位,這就是圖5B所示的“多位”架構,其原理與之前討論的插值DAC相似,不過增加了Σ-Δ型數字調制器。
過去,由于n位內部DAC的精度要求(它雖然只有n位,但必須具有最終位數N位的線性度),多位DAC難以設計。然而,AD195x系列音頻DAC利用專有“數據加擾”技術(稱為“數據定向加擾”)解決了這一問題,在所有音頻規格方面都能提供出色的性能。
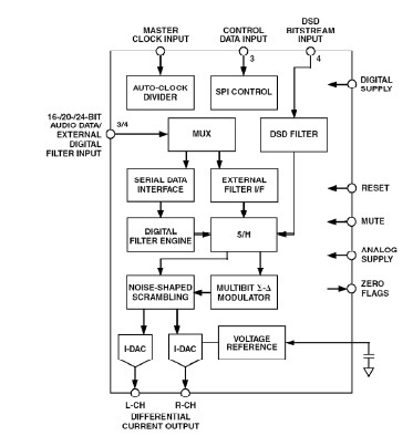
圖6所示為AD1955 多位Σ-Δ型音頻DAC。 AD1955同樣使用數據定向加擾技術,支持各種DVD音頻格式,并具有非常靈活的串行端口。THD + N典型值為110 dB。

圖6:AD1955多位Σ-Δ型音頻DAC
總結
在現代數據采樣系統中,過采樣結合數字濾波是強有力的工具。我們已經看到,同樣的基本原理既適用于ADC,也適用于重構DAC。主要優點是對抗混疊/抗鏡像濾波器的要求得以降低,另一個優點是SNR因處理增益而提高。
Σ-Δ型ADC和DAC架構是過采樣原理的終端擴展,同時也是大多數語音頻帶和音頻信號處理數據轉換器應用的首選架構。
參考文獻
1. G. R. Ritchie, J. C. Candy, and W. H. Ninke, "Interpolative Digital-to-Analog Converters," IEEE Transactions on Communications, Vol. COM-22, November 1974, pp. 1797-1806.(最早的關于過采樣插值DAC的論文之一)。
2. H. G. Musmann and W. W. Korte, "Generalized Interpolative Method for Digital/Analog Conversion of PCM Signals," U.S. Patent 4,467,316, filed June 3, 1981, issued August 21, 1984.(關于插值DAC的描述)。
3. Robert W. Adams and Tom W. Kwan, "Data-directed Scrambler for Multi-bit Noise-shaping D/A Converters," U.S. Patent 5,404,142, filed August 5, 1993, issued April 4, 1995.(描述采用“數據加擾”技術的分段音頻DAC)。
4. Y. Matsuya, et. al., "A 16-Bit Oversampling A/D Conversion Technology Using Triple-Integration Noise Shaping," IEEE Journal of Solid-State Circuits, Vol. SC-22, No. 6, December 1987, pp. 921-929.
5. Y. Matsuya, et. al., "A 17-Bit Oversampling D/A Conversion Technology Using Multistage Noise Shaping," IEEE Journal of Solid-State Circuits, Vol. 24, No. 4, August 1989, pp. 969-975.
6. Walt Kester, Analog-Digital Conversion, Analog Devices, 2004, ISBN 0-916550-27-3, Chapter 3.另見The Data Conversion Handbook, Elsevier/Newnes, 2005, ISBN 0-7506-7841-0, Chapter 3.
© 2009 Analog Devices, Inc 保留所有權利。對于客戶產品設計、客戶產品的使用或應用,以及因ADI公司協助而可能導致的任何侵權,ADI公司概不負責。所有商標和標志均屬各自所有人所有。ADI公司應用與開發工具工程師提供的信息準確可靠,但ADI公司對其技術指南所提供內容的技術準確性和時效性不承擔責任。
推薦閱讀:




